时间:2024-08-26 08:08:31 点击数:
缠绕式提升机是矿山常用提升设备,是矿井连通井上和井下的重要通道。其中钢丝绳在整个提升系统中起着重要作用,因单绳缠绕式提升机的提升载荷由单根钢丝绳承载,若钢丝绳出现问题未及时解决,会引发重大安全事故。
某矿井的缠绕式提升机长期用于提升毛石,年检时更换主提升绳后进行提矿试运行,在后续的日常检查中发现,罐笼运行至某中段时,对应的钢丝绳磨损严重,且绳径变化迅速,经连续两周测量,zui细处绳径已达 27.1 mm (原绳径为 28.0 mm),磨损量达 1.0 mm,若不加管理,伴随磨损的增加,势必酿成大祸。经仔细观察发现,钢丝绳磨损的位置恰处于钢丝绳换层之处,此处的钢丝绳与天轮外偏角处于zui大值。《金属非金属矿山安全规程》第 6.4.4.12 条规定,在缠绕式提升系统中,卷筒至天轮的钢丝绳zui大偏角不应超过 1°30′,超出此值,钢丝绳与天轮轮缘会产生干涉,进而磨损钢丝绳,而该矿山所使用的提升系统属于该情形。
面对此种状况,需对钢丝绳天轮偏角进行调整,调整方法诸多,一种方法是更换天轮衬垫,以减少钢丝绳对天轮轮缘的磨损,但随使用时间的延长,衬垫磨损亦会加剧,钢丝绳终将再度产生干涉;另一方法为调整滚筒的水平位置,使滚筒整体平移,将原基础拆除并重新施工,但工程量大且耗时费力。
笔者提出一种简便易行的方法,使天轮底座在水平方向上作微小角度的转动,令天轮入绳点正对相应滚筒的中 心,使钢丝绳的内外偏角近乎相等,从而达到偏角调整的效果。
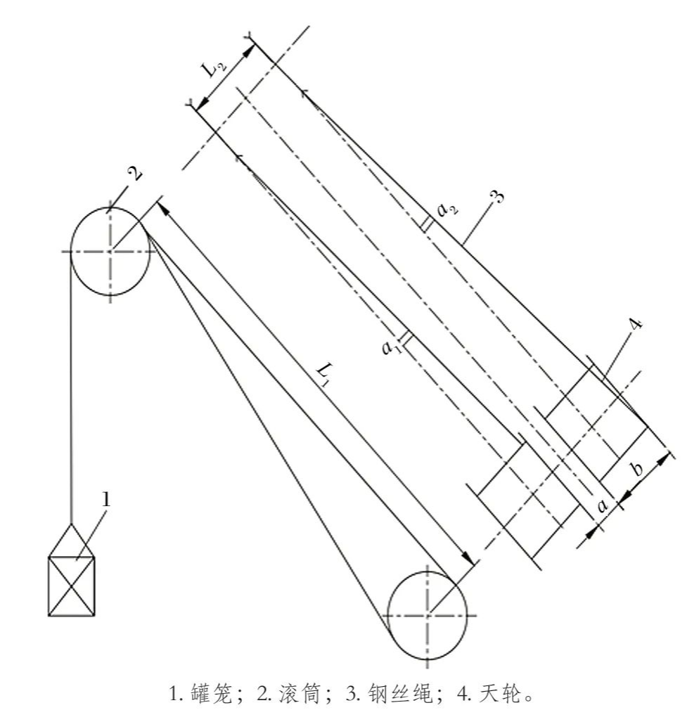
1 调整前钢丝绳和天轮内外偏角的测量
1.1 天轮内外偏角测定方案
天轮内外偏角示意如图 1 所示,为了确定是否因钢丝绳内外偏角偏大导致的钢丝绳异常磨损,需要对提升机的内外偏角进行测量。由图 1 可知,α1 为天轮钢丝绳内偏角,α2 为天轮钢丝绳外偏角,当钢丝绳处于左右挡绳板附近时,钢丝绳与天轮的偏角达到zui大。


凿井绞车是一种专门用于开凿井眼的机械设备。它通常由电机、减速器、绞车机构、钻杆、磨具、井口安全装置等部件组成,结构为缠绕式,其中主轴装置包括主轴、齿轮、卷筒、制
稳车又叫做稳盘绞车、凿井绞车,是煤矿井下常用的提升设备。JZ系列凿井绞车主要用于煤矿、金属矿、非金属矿竖井井筒掘进时悬吊吊盘,水泵,水管,注浆管,凤筒等掘进设备和张紧稳